Insertion and Baffle

( 1 ) Top Insertion:
The mixer is inserted from the top of mixing tank and immersing in the tank to perform mixing is called top insertion. It can be categorized into three types including the center insertion (Figure A), eccentric insertion (Figure B) and

(A)Center insertion           (B)Eccentric insertion       (C)Eccentric and slanting insertion


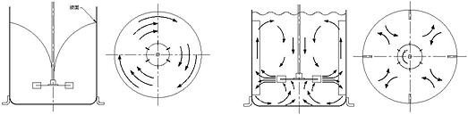
A. For a center insertion operates in low viscosity without any baffles to block the flow, the fluid will generate swirl (Figure D), where the higher the mixing speed, the more severe the swirl. Such mixing efficiency will be the lowest and can be eliminated by adding baffles (Figure E). Add 4 vertical standard baffle sets in a vertical tank, where the width of the baffle is around 1/10~1/12 of the tank diameter. It is found that further increase in width of the baffle will not improve the driving force. Therefore, from the viewpoint of power consumption of the blades, this width value cannot be regarded as a standard baffle width. As found in the experiment that the range of baffle width will help the fluid mixing in between the top and bottom portions and eliminated eddies. However, if the number of baffles increases, the power consumption will increase. When the fluid viscosity increases, the need of the baffles decreases and the baffle width as well. The baffle could keep an appropriate clearance to the tank wall for the fluid to flow through and avoid stagnation. For the fluid of higher  viscosity, slanting installation can be applied.


B. Eccentric insertion is typically applied for mixing in a small tank. When the mixer is removed from the center of the tank, it can have vertical or slanting insertion. Sometimes baffles are not required for eliminating the swirl.


            (D)Swir                                            (E)Baffle


( 2 ) Side Insertion:

One of the methods to prevent swirls in large storage tanks is to place the mixer on the side of the tank (Figure F). The mixer should keep an angle, β, with respect to the radial direction of the tank inbetween 7°<β°<10°. Such method could create a good flow pattern. If the angle is not correct, poor mixing will occur. Because of the high pressure generated by the liquid in the tank, this installation method should be equipped with shaft seal to prevent leakage. The cost should be taken into consideration when this method is selected.


mixer-baffle-3.gif


                  (F)Side insertion                  

  

 Low viscosity baffle       medium or high viscosity baffle        higher viscosity baffle